Пластинчатые нерегулируемые насосы ─ это мощные гидравлические машины.
Их назначение – передача жидких веществ в гидравлическую систему различных оборудований и приборов, предназначенных для резки металла.
Количество жидкости при непосредственном потоке не регулируется.
Благодаря плавной подаче, нешумному двигателю и высокому качеству ремонтопригодности насосы такого плана широко применяются в промышленной и станочной инженерии.
Данные насосы выпускают с одним или двумя поточными давлениями – 6,3 и 16 мега паскаль.
Купить товар
Описание устройства
Работа производится на нефтяных маслах следующих моделей: ИГП-38, ВНИИ НП-403. Вещество должно быть нагрето не выше, чем на 60 градусов по Цельсию и не ниже 10. Вязкость должна варьироваться от 20 до 400 мм2/с (сСт).
Двухпоточное устройство имеет два насоса, технические параметры каждого из которых идентичны характеристикам однопоточных. Принцип работы насосов также одинаков.
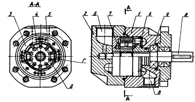
Из-за способа работы тип НПл принято относить к неконтролируемым пластинчатым насосам. Принцип действия заключается в кружении пластин, расположенных в пазах ротора при вращении насосного вала.

Применение насоса НПл 32/6,3
Данные насосы широко применяются в станковом строении. Находясь в водных приводах различных агрегатов, они поставляют нерегулируемый поток масла, сохраняя постоянное давление.
Кинематическое внутреннее трение вещества при действующей силе в 6,3 МПа составляет 20..400 сСт, в 16 Мпа вязкость может достигать 213 сСт. Следует отметить, что встроенный фильтр может достигать минимальной тонкости фильтрации 25 МКМ.

Климатическое исполнение – УХЛ, а значит оборудование следует использовать в умеренном влажном или жарком сухом климатическом районе. Категория размещения по ГОСТ – 4.
Периодичность вращения вала доходит до 960 оборотов в минуту. Его движение производится в правую сторону, однако при необходимости заказчик в праве попросить о изменении направления.
Насосы лопастного типа НПл бывают с односторонним или двусторонним потоком. Также они подразделяются на группы, имеющие своё название – габариты.